Menu
×
Hello
Login or Register
Quick Links
Live Chat
Track Order
Parts Availability
RMA
Help Center
Contact Us
Shop for
Mazda Parts
Search Bar
Search by Part Number, Part Name, or Vehicle
My Garage
My Account
Cart
Mazda Parts
Contact Us
Help Center
Home
>
Mazda MX-5 Miata
>
2008
>
Rear Body
Rear Body fit your
2008 Mazda MX-5 Miata
Currently shopping for
2008 Mazda MX-5 Miata
Change Vehicle
Vehicle Options
4 Cyl 2.0 L GAS
Vehicle Options
4 Cyl 2.0 L GAS
Categories
Close X
Currently selected
Body & Hardware
Center Console
Cluster & Switches
Convertible Top - Roll Bar
Convertible/Soft Top - Top & Components
Cowl
Dash Panel Components
Door & Components
Ducts
Fender & Components
Front Bumper
Front Seat Components
Fuel Door
Glass - Door
Glove Box
Hinge Pillar, Rocker
Hood & Components
Information Labels
Inner Structure - Quarter Panel
Instrument Panel
Lock & Hardware
Outside Mirrors
Pillars, Rocker & Floor - Floor & Rails
Quarter Panel & Components
Radiator Support
Rear Body
Rear Body - Floor & Rails
Rear Body Interior Trim, Jack & Components
Rear Bumper
Retractable Top - Roll Bar
Retractable Top - Top & Components
Seat Belt
Sound System
Structural Components & Rails
Top & Components, Glass
Top Well Components
Trunk
Trunk Lid
Windshield Glass, Reveal Moldings
Windshield Header & Components
Wiper & Washer Components
Other Categories
A/C & Heating
Air & Fuel Delivery
Belts & Cooling
Brakes
Charging & Starting
Driveline & Axles
Electrical
Emission Control & Exhaust
Engine
Headlights & Lighting
Interior & Exterior Trim
Maintenance & Lubrication
Steering
Suspension
Transmission
Browse Categories
Categories
Close X
Currently selected
Body & Hardware
Center Console
Cluster & Switches
Convertible Top - Roll Bar
Convertible/Soft Top - Top & Components
Cowl
Dash Panel Components
Door & Components
Ducts
Fender & Components
Front Bumper
Front Seat Components
Fuel Door
Glass - Door
Glove Box
Hinge Pillar, Rocker
Hood & Components
Information Labels
Inner Structure - Quarter Panel
Instrument Panel
Lock & Hardware
Outside Mirrors
Pillars, Rocker & Floor - Floor & Rails
Quarter Panel & Components
Radiator Support
Rear Body
Rear Body - Floor & Rails
Rear Body Interior Trim, Jack & Components
Rear Bumper
Retractable Top - Roll Bar
Retractable Top - Top & Components
Seat Belt
Sound System
Structural Components & Rails
Top & Components, Glass
Top Well Components
Trunk
Trunk Lid
Windshield Glass, Reveal Moldings
Windshield Header & Components
Wiper & Washer Components
Other Categories
A/C & Heating
Air & Fuel Delivery
Belts & Cooling
Brakes
Charging & Starting
Driveline & Axles
Electrical
Emission Control & Exhaust
Engine
Headlights & Lighting
Interior & Exterior Trim
Maintenance & Lubrication
Steering
Suspension
Transmission
How to use OE catalog
2 diagrams found for the vehicle you selected.
Select your vehicle options to narrow down results.
1.
Rear Body & Floor (With Retractable Hard Top)
2.
Rear Body & Floor (Without Retractable Hard Top)
Sort by:
Ref No.
Ref No.
Part No. & Part Description
Price & Qty.
Part No. &
Part Description
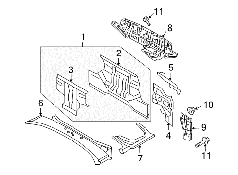
1
NF79-70-750B
Rear Body Panel
Part Notes: W/O Retractable Hard Top;W/Retractable Hard Top
$378.49
$283.81
1
Add To Cart
2
NF79-70-75XA
Rear End Panel
Part Notes: W/O Retractable Hard Top;W/Retractable Hard Top
$334.99
$251.19
1
Add To Cart
3
NF79-70-760A
Rear Crossmember
Part Notes: W/O Retractable Hard Top;W/Retractable Hard Top
$95.10
$71.31
1
Add To Cart
4
NF79-70-480A
Corner Panel
Part Notes: W/O Retractable Hard Top;W/Retractable Hard Top
Location: Passenger Side
$91.06
$68.28
1
Add To Cart
4
NF79-71-481A
Corner Panel
Part Notes: W/O Retractable Hard Top;W/Retractable Hard Top
Location: Driver Side
$91.04
$68.26
1
Add To Cart
5
NF79-70-4A5
Gusset
Part Notes: W/O Retractable Hard Top;W/Retractable Hard Top
Location: Passenger Side
$54.51
$40.88
1
Add To Cart
5
NF79-71-4A5
Gusset
Part Notes: W/O Retractable Hard Top;W/Retractable Hard Top
Location: Driver Side
$54.51
$40.88
1
Add To Cart
6
NE52-70-500A
Package Tray
Part Notes: W/Retractable Hard Top
$305.37
$228.99
1
Add To Cart
6
NF79-70-500D
Package Tray
Part Notes: W/O Retractable Hard Top
$275.50
$206.58
1
Add To Cart
7
NE52-70-441A
Water Drain Panel
Part Notes: W/Retractable Hard Top
Location: Passenger Side
$105.69
$79.25
1
Add To Cart
7
NE52-71-441A
Water Drain Panel
Part Notes: W/Retractable Hard Top
Location: Driver Side
$105.70
$79.26
1
Add To Cart
7
NF79-70-440D
Water Drain Panel
Part Notes: W/O Retractable Hard Top
Location: Passenger Side
$191.36
$143.49
1
Add To Cart
7
NF79-71-440D
Water Drain Panel
Part Notes: W/O Retractable Hard Top
Location: Driver Side
$191.36
$143.49
1
Add To Cart
8
NE51-56-5EXG
Bulkhead
Part Notes: W/O Retractable Hard Top;W/Retractable Hard Top
$248.66
$186.46
1
Add To Cart
9
NE51-56-551C
Diagonal Brace
Part Notes: W/O Retractable Hard Top;W/Retractable Hard Top
Location: Passenger Side
$9.10
$6.83
1
Add To Cart
9
NE51-56-556A
Diagonal Brace
Part Notes: W/O Retractable Hard Top;W/Retractable Hard Top
Location: Driver Side
$8.59
$6.45
1
Add To Cart
10
9989-10-600
Diagonal Brace Nut
Part Notes: W/O Retractable Hard Top;W/Retractable Hard Top
Location: Driver Side;Passenger Side
$2.84
$2.14
1
Add To Cart
11
9946-30-612
Mount Bolt
Part Notes: W/O Retractable Hard Top;W/Retractable Hard Top
Location: Driver Side;Passenger Side
$1.71
$1.28
1
Add To Cart